上两节,我们解读了task_struct的大部分的成员变量。这样一个任务执行的方方面面,都可以很好地管理起来,但是其中有一个问题我们没有谈。在程序执行过程中,一旦调用到系统调用,就需要进入内核继续执行。那如何将用户态的执行和内核态的执行串起来呢?
这就需要以下两个重要的成员变量:
1 | struct thread_info thread_info; |
用户态函数栈
在用户态中,程序的执行往往是一个函数调用另一个函数。函数调用都是通过栈来进行的。我们前面大致讲过函数栈的原理,今天我们仔细分析一下。
函数调用其实也很简单。如果你去看汇编语言的代码,其实就是指令跳转,从代码的一个地方跳到另外一个地方。这里比较棘手的问题是,参数和返回地址应该怎么传递过去呢?
我们看函数的调用过程,A调用B、调用C、调用D,然后返回C、返回B、返回A,这是一个后进先出的过程。有没有觉得这个过程很熟悉?没错,咱们数据结构里学的栈,也是后进先出的,所以用栈保存这些最合适。
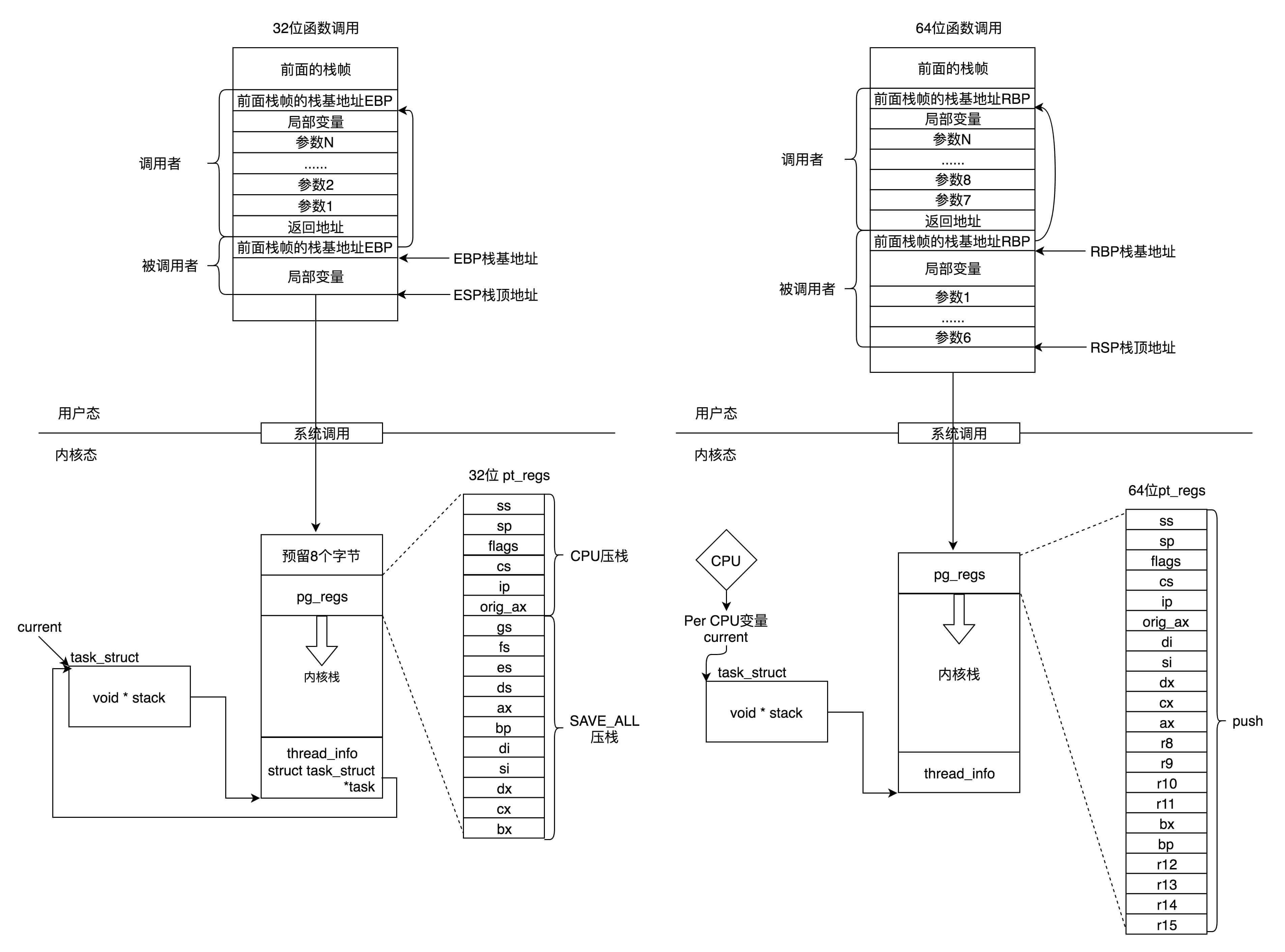
在进程的内存空间里面,栈是一个从高地址到低地址,往下增长的结构,也就是上面是栈底,下面是栈顶,入栈和出栈的操作都是从下面的栈顶开始的。

我们先来看32位操作系统的情况。在CPU里,ESP(Extended Stack Pointer)是栈顶指针寄存器,入栈操作Push和出栈操作Pop指令,会自动调整ESP的值。另外有一个寄存器EBP(Extended Base Pointer),是栈基地址指针寄存器,指向当前栈帧的最底部。
例如,A调用B,A的栈里面包含A函数的局部变量,然后是调用B的时候要传给它的参数,然后返回A的地址,这个地址也应该入栈,这就形成了A的栈帧。接下来就是B的栈帧部分了,先保存的是A栈帧的栈底位置,也就是EBP。因为在B函数里面获取A传进来的参数,就是通过这个指针获取的,接下来保存的是B的局部变量等等。
当B返回的时候,返回值会保存在EAX寄存器中,从栈中弹出返回地址,将指令跳转回去,参数也从栈中弹出,然后继续执行A。
对于64位操作系统,模式多少有些不一样。因为64位操作系统的寄存器数目比较多。rax用于保存函数调用的返回结果。栈顶指针寄存器变成了rsp,指向栈顶位置。堆栈的Pop和Push操作会自动调整rsp,栈基指针寄存器变成了rbp,指向当前栈帧的起始位置。
改变比较多的是参数传递。rdi、rsi、rdx、rcx、r8、r9这6个寄存器,用于传递存储函数调用时的6个参数。如果超过6的时候,还是需要放到栈里面。
然而,前6个参数有时候需要进行寻址,但是如果在寄存器里面,是没有地址的,因而还是会放到栈里面,只不过放到栈里面的操作是被调用函数做的。

以上的栈操作,都是在进程的内存空间里面进行的。
内核态函数栈
接下来,我们通过系统调用,从进程的内存空间到内核中了。内核中也有各种各样的函数调用来调用去的,也需要这样一个机制,这该怎么办呢?
这时候,上面的成员变量stack,也就是内核栈,就派上了用场。
Linux给每个task都分配了内核栈。在32位系统上arch/x86/include/asm/page_32_types.h,是这样定义的:一个PAGE_SIZE是4K,左移一位就是乘以2,也就是8K。
1 | #define THREAD_SIZE_ORDER 1 |
内核栈在64位系统上arch/x86/include/asm/page_64_types.h,是这样定义的:在PAGE_SIZE的基础上左移两位,也即16K,并且要求起始地址必须是8192的整数倍。
1 | #ifdef CONFIG_KASAN |
内核栈是一个非常特殊的结构,如下图所示:

这段空间的最低位置,是一个thread_info结构。这个结构是对task_struct结构的补充。因为task_struct结构庞大但是通用,不同的体系结构就需要保存不同的东西,所以往往与体系结构有关的,都放在thread_info里面。
在内核代码里面有这样一个union,将thread_info和stack放在一起,在include/linux/sched.h文件中就有。
1 | union thread_union { |
这个union就是这样定义的,开头是thread_info,后面是stack。
在内核栈的最高地址端,存放的是另一个结构pt_regs,定义如下。其中,32位和64位的定义不一样。
1 | #ifdef __i386__ |
看到这个是不是很熟悉?咱们在讲系统调用的时候,已经多次见过这个结构。当系统调用从用户态到内核态的时候,首先要做的第一件事情,就是将用户态运行过程中的CPU上下文保存起来,其实主要就是保存在这个结构的寄存器变量里。这样当从内核系统调用返回的时候,才能让进程在刚才的地方接着运行下去。
如果我们对比系统调用那一节的内容,你会发现系统调用的时候,压栈的值的顺序和struct pt_regs中寄存器定义的顺序是一样的。
在内核中,CPU的寄存器ESP或者RSP,已经指向内核栈的栈顶,在内核态里的调用都有和用户态相似的过程。
通过task_struct找内核栈
如果有一个task_struct的stack指针在手,你可以通过下面的函数找到这个线程内核栈:
1 | static inline void *task_stack_page(const struct task_struct *task) |
从task_struct如何得到相应的pt_regs呢?我们可以通过下面的函数:
1 | /* |
你会发现,这是先从task_struct找到内核栈的开始位置。然后这个位置加上THREAD_SIZE就到了最后的位置,然后转换为struct pt_regs,再减一,就相当于减少了一个pt_regs的位置,就到了这个结构的首地址。
这里面有一个TOP_OF_KERNEL_STACK_PADDING,这个的定义如下:
1 | #ifdef CONFIG_X86_32 |
也就是说,32位机器上是8,其他是0。这是为什么呢?因为压栈pt_regs有两种情况。我们知道,CPU用ring来区分权限,从而Linux可以区分内核态和用户态。
因此,第一种情况,我们拿涉及从用户态到内核态的变化的系统调用来说。因为涉及权限的改变,会压栈保存SS、ESP寄存器的,这两个寄存器共占用8个byte。
另一种情况是,不涉及权限的变化,就不会压栈这8个byte。这样就会使得两种情况不兼容。如果没有压栈还访问,就会报错,所以还不如预留在这里,保证安全。在64位上,修改了这个问题,变成了定长的。
好了,现在如果你task_struct在手,就能够轻松得到内核栈和内核寄存器。
通过内核栈找task_struct
那如果一个当前在某个CPU上执行的进程,想知道自己的task_struct在哪里,又该怎么办呢?
这个艰巨的任务要交给thread_info这个结构。
1 | struct thread_info { |
这里面有个成员变量task指向task_struct,所以我们常用current_thread_info()->task来获取task_struct。
1 | static inline struct thread_info *current_thread_info(void) |
而thread_info的位置就是内核栈的最高位置,减去THREAD_SIZE,就到了thread_info的起始地址。
但是现在变成这样了,只剩下一个flags。
1 | struct thread_info { |
那这时候怎么获取当前运行中的task_struct呢?current_thread_info有了新的实现方式。
在include/linux/thread_info.h中定义了current_thread_info。
1 | #include <asm/current.h> |
那current又是什么呢?在arch/x86/include/asm/current.h中定义了。
1 | struct task_struct; |
到这里,你会发现,新的机制里面,每个CPU运行的task_struct不通过thread_info获取了,而是直接放在Per CPU 变量里面了。
多核情况下,CPU是同时运行的,但是它们共同使用其他的硬件资源的时候,我们需要解决多个CPU之间的同步问题。
Per CPU变量是内核中一种重要的同步机制。顾名思义,Per CPU变量就是为每个CPU构造一个变量的副本,这样多个CPU各自操作自己的副本,互不干涉。比如,当前进程的变量current_task就被声明为Per CPU变量。
要使用Per CPU变量,首先要声明这个变量,在arch/x86/include/asm/current.h中有:
1 | DECLARE_PER_CPU(struct task_struct *, current_task); |
然后是定义这个变量,在arch/x86/kernel/cpu/common.c中有:
1 | DEFINE_PER_CPU(struct task_struct *, current_task) = &init_task; |
也就是说,系统刚刚初始化的时候,current_task都指向init_task。
当某个CPU上的进程进行切换的时候,current_task被修改为将要切换到的目标进程。例如,进程切换函数__switch_to就会改变current_task。
1 | __visible __notrace_funcgraph struct task_struct * |
当要获取当前的运行中的task_struct的时候,就需要调用this_cpu_read_stable进行读取。
1 | #define this_cpu_read_stable(var) percpu_stable_op("mov", var) |
好了,现在如果你是一个进程,正在某个CPU上运行,就能够轻松得到task_struct了。
总结时刻
这一节虽然只介绍了内核栈,但是内容更加重要。如果说task_struct的其他成员变量都是和进程管理有关的,内核栈是和进程运行有关系的。
我这里画了一张图总结一下32位和64位的工作模式,左边是32位的,右边是64位的。

课堂练习
这一节讲函数调用的时候,我们讲了函数栈的工作模式。请你写一个程序,然后编译为汇编语言,打开看一下,函数栈是如何起作用的。
欢迎留言和我分享你的疑惑和见解,也欢迎你收藏本节内容,反复研读。你也可以把今天的内容分享给你的朋友,和他一起学习、进步。
